紅外線一氧化碳CO氣體分析儀
- 品牌:SINZEN(新澤儀器)
- 型號:S2000型
- 廠家:山東新澤儀器有限公司
一、S2000型一氧化碳分析儀產品簡介
S2000型CO分析儀,該儀器屬于不分光式紅外線氣體分析器,其工作原理是基于某些氣體對紅外線的選擇性吸收。儀器采用單光源、單管隔半氣室及先進的檢測器,工藝精湛、分析精度高、穩定性好。采用先進的數字處理技術,全新的液晶顯示畫面。

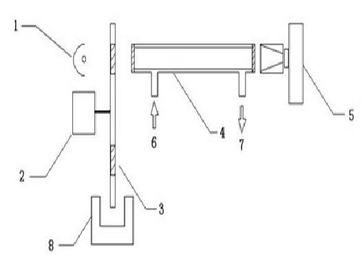
CO紅外線氣體分析儀原理圖
1.紅外光源 2.調制馬達 3.濾光片 4.分析氣室 5.紅外探測器 6.進氣口 7.出氣口 8.相位檢測器
二、S2000一氧化碳分析儀用途及應用范圍
S2000紅外線氣體分析器用于連續分析CO、一種氣體在多種氣體混合物中的含量。
產品應用領域廣泛:
1.用于大氣及污染源排放等環保監測
2.用于石油、化工、電站等工業過程控制
3.用于農業、醫療衛生和科研等領域
4.實驗室各種燃燒試驗的氣體含量測定
5.用于公共場所的空氣監測
三、S2000一氧化碳分析儀特點
1.標準19機箱,能安裝在成套設備中
2.大屏幕LCD顯示,全中文菜單操作,且有操作提示功能,操作簡單、高效
3.手動/自動零/終點校準、
4.全數字化處理,更加準確穩定可靠
5.標準RS232數字通訊功能,可直接與電腦或DCS連接
6.輸出為同步、隔離的(0/2/4-20)mA及(0/0.5/1-5)V信號可選,默認為(4-20)mA和(1-5)V,電流輸出負載400兆歐;,電壓輸出負載250兆歐;
7.具有完全隔離的校準、故障、報警、的輸出信號
四、S2000一氧化碳分析儀主要技術數據
1.測量范圍:CO:最小量程:0~2000(ppm);最大量程0~100%;
2.精 度:≤2%F.S.;
3.穩 定 性:零點漂移:≤1%F.S./7d;
4.量程漂移:≤1%F.S./7d;
5.樣氣壓力:0.1Mpa,入口壓力0.25Mpa;
6.輸出信號:4-20mA或0-10mA DC可選;
7.觸點容量:120VAC,1A 24VDC,1A;
8.工作電源:220V±10%,50Hz±5%;
9.工作環境:溫度:-5℃~+45℃;
10.濕 度:≤90%RH;
11.重 量:約6.5kg。
- 紅外線氣體分析儀2023-04-26
- 紅外線一氧化碳CO氣體分析儀2023-04-26
- 二氧化碳CO2紅外分析儀2023-04-26
- 多組份氣體分析儀2023-04-26
- 薄膜微音紅外線氣體分析儀2023-04-26
- 紅外線防爆氣體分析儀2023-04-26
- 煤氣/天然氣在線熱值分析儀2023-04-26
- 煙氣排放連續監測系統2023-05-06
- 抽取式超低粉塵儀2023-05-06
- 氨逃逸在線監測設備2023-05-06
- 環境空氣非甲烷總烴連續監測系統2023-05-06
- 污染源VOCs監測系統2023-05-06
- 二氧化碳(CO2)排放連續監測系統2023-05-06
- 廢氣非甲烷總烴在線監測系統2022-04-06
- 冶金行業在線氣體分析系統2023-05-06
- 防爆型煙氣連續排放監測系統2023-05-06
- 乙炔中氧氣含量分析系統2023-05-06


當前位置:

需求溝通傾聽客戶需求,了解用戶使用環境和現場工況
方案設計根據現場實際工況,針對性出具解決方案
合同簽訂技術和商務規范確認,簽訂合作協議
產品制作選擇最優質的元器件,嚴格按照技術協議
調試安裝現場規范安裝,靜態動態調試,分析儀運行
售后服務后續維護,持續跟進,終身維修


在線咨詢1
咨詢熱線